
Ideal for renovation work
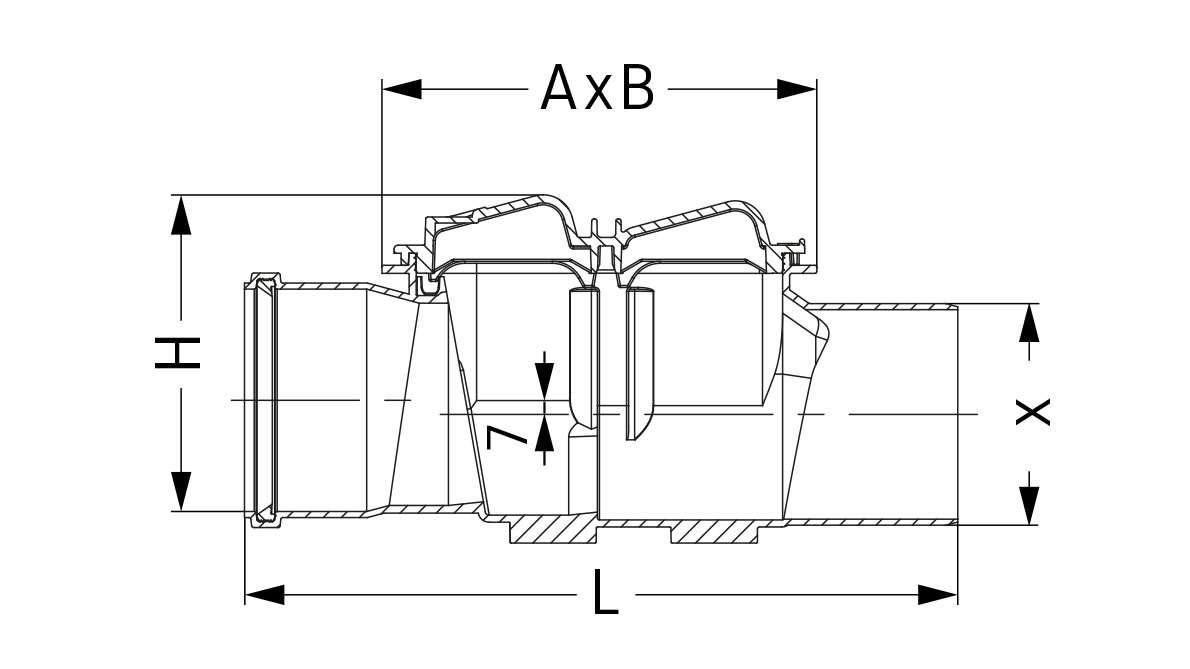
If a backwater valve no longer fits into the existing pipe, the work and expense can increase. The drop of the Staufix Basic is just 7 mm from the inlet to the drain – so it can be integrated without any problems. The "Clean out drain body" version can be used as a cleaning piece .

Not found the right product?
In addition to our standardbackwater valves, we develop individual solutions for special requirements – in terms of form, function and dimensioning – at the customer's request..


























